4月3日,国泰海通官网发布《国泰海通证券关于终止浙江蓝能氢能科技股份有限公司首次公开发行股票并上市辅导工作的报告》。


图:国泰海通公告
公告显示,浙江蓝能于2023年12月分别与国泰海通和东方证券签署上市辅导协议,聘请两家机构担任其首次公开发行股票并上市的联席辅导机构。截至本报告出具日,两家联席辅导机构已完成对浙江蓝能的八期辅导工作。
对于终止辅导的原因,公告明确指出,浙江蓝能基于自身战略发展及未来资本运作的规划考量,经友好协商,决定终止辅导机构国泰海通及东方证券对其的辅导工作。
据公开资料,浙江蓝能成立于2009年,是申能集团实际控制企业。公司专注于高压储氢、低温储运与系统集成三大核心技术领域,是国内储氢储运装备领域的龙头企业,其站用储氢瓶组覆盖国内80%以上市场,碳纤维缠绕氢气长管拖车市场占有率75%以上,在氢能储运细分领域占据国内市场50%以上的份额。
在市场应用层面,浙江蓝能产品已应用于北京冬奥会、巴黎奥运会及欧洲首个地下加氢站等项目,产品和服务广泛应用于氢能、天然气、电子特气、稀有气体及其它工业气体储运加领域。
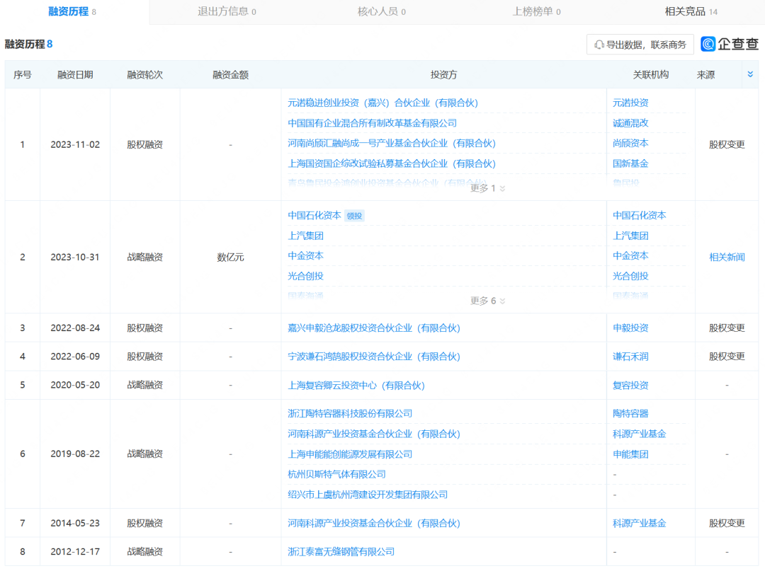
从资本布局来看,浙江蓝能自2021年起便备受资本青睐,累计完成8轮融资,背后集结了一众行业头部投资机构,包括中国石化资本、光速光合、高瓴创投、孚腾资本、气候资本、中金资本、上汽集团等。

图:浙江蓝能融资历程
事实上,浙江蓝能的IPO变动也是当前氢能行业资本路径的一个缩影。
目前氢能产业仍处商业化早期,商业模式尚未完全跑通,市场体量有限,企业普遍面临研发投入高、盈利难的挑战。截至目前,国内氢能领域成功上市的企业仅有亿华通、国鸿氢能、重塑能源、国富氢能四家,且上市后多数仍处于亏损状态。
更多氢能企业则还在IPO筹备阶段,并且类似浙江蓝能这样“中途撤回”的案例不在少数。例如:2022年12月,治臻股份科创板IPO终止;2024年3月,捷氢科技撤回科创板申请;2025年3月,东岳氢能也曾终止辅导,但随后迅速重新备案。
整体来看,氢能企业IPO进程放缓,一方面受当前IPO政策环境收紧影响,另一方面也反映出行业本身仍处于投入期,规模效应尚未形成,持续盈利模式仍在探索。
值得关注的是,2026年以来,氢能产业政策支持力度持续增强,行业进入快速发展窗口期。氢能已三年被写入政府工作报告,第二期氢能示范试点也已启动,一系列政策红利正逐步释放。在政策与市场的双重推动下,氢能行业未来或许将迎来更明确的商业化路径与资本化机遇。
碳索氢能网 https://h2.solarbe.com/news/20260408/50021303.html


下一篇













